cmos在电路中容易形成集成化 它是有什么特点 是否会受到影响
信息来源:本站 日期:2017-09-05
容易集成化
TTL等双极器件中,如图10. 15所示,相邻的晶体管之间需求隔离,而且要提高电流驱动型器件的集成度,就很难抑止功率耗费和发热现象。

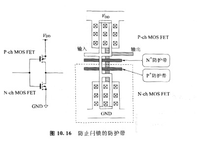
CMOS中,由于闩锁现象/可控硅现象的缘由,需求思索设置恰当的别离寄生双极晶体管的称为防护带(图10. 16)的别离墙/过渡电流吸收带。不过对集成度的影响不大。最近,还开发出不需求防护带的制造技术。而且,由于CMOS的低功耗特性,在发热问题上比双极器件优越,也有利于集成化。
把单位面积(mm2)上集成的晶体管数目叫做集成度。目前集成度超越了1000万个MOS晶体管的系统LSI曾经在数字设备中采用。
联系方式:邹先生
联系电话:0755-83888366-8022
实亿国际 手机:18123972950
实亿国际 QQ:2880195519
实亿国际 联系地址:深圳市福田区车公庙天安数码城天吉大厦CD座5C1
实亿国际 关注KIA半导体工程专辑请搜微信号:“KIA半导体”或点击本文下方图片扫一扫进入官方微信“关注”
实亿国际 长按二维码识别关注