实亿国际三端稳压管好坏判断-三端稳压管引脚识别及性能检测详解-KIA MOS管
实亿国际信息来源:本站 日期:2018-11-26
三端稳压管是一种直到临界反向击穿电压前都具有很高电阻的半导体器件。稳压管在反向击穿时,在一定的电流范围内(或者说在一定功率损耗范围内),端电压几乎不变,表现出稳压特性,因而广泛应用于稳压电源与限幅电路之中。三端稳压管,主要有两种,一种输出电压是固定的,称为固定输出三端稳压管,另一种输出电压是可调的,称为可调输出三端稳压管。
电子产品一般三端稳压集成电路有一个正电压输出78xx系列79x系列和负电压输出。因此,公义,三端集成电路是指电压调整器和集成电路和三针输出,输入,接地端和输出端。它看起来像普通三极管、TO-220标准封装,有9013-92封装的。用78/79系列三端稳压集成电路形成几个外围组件所需的稳压电源,内部电路和过流、过热和调整管保护电路,而且价格便宜。这一系列的集成稳压集成电路模型在78或79的数字代表三端集成稳压电路的输出电压,如7806表示输出电压6v,79099v输出电压是负的。
(1)引脚识别
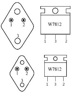
三端稳压器的封装有金属封装和塑料封装两种,外形如同一只大功率晶体管,引脚的排列如图9-30所示。不同系列的稳压器,其各脚的作用不同。其中最常用的W78××系列稳压器,为输入端(I),为输出端(O),为公共端(COM);W79××系列则是为公共端,为输出端,为输入端;常用的可调三端稳压器LM317T,外形如W78××,其为可调端,为输入端,为输出端。端输出电压值由端电压变化调节。
(2)性能鉴别
对78××和79××系列三端稳压器,鉴别其好坏可使用万用表 R × 100挡,分别检测其输入端与输出端的正、反向电阻值。正常时,阻值相差在数千欧以上;若阻值相差很小或近似为零,说明其已损坏。表9-14、表9-15为最常用的78××和79××21种三端稳压器的实测各引脚非在路电阻值,供检测时参考。
表9-14 78××三端稳压器各引脚非在路电阻值(kΩ )
表9-15 79××三端稳压器各引脚非在路电阻值(kΩ )
(1)分清3个引出脚
三端集成稳压器的输入、输出和接地端装错时很容易损坏,需特别注意。在安装时一定要焊接良好,否则会导致输出电压的波动,易损坏输出端上的其他电路,也可能损坏集成稳压器本身。在拆装集成稳压器时要先断开电源。输出电压大于6V的三端集成稳压器的输入、输出端最好接一保护二极管,可防止输入电压突然降低时,输出电容对输出端放电引起三端集成稳压器的损坏。
(2)正确选择输入电压范围
三端集成稳压器内部的二极管、三极管均有一定的耐压值,因此整流器输出电压的最大值不能大于集成稳压器的最大允许输入电压值。7805(7905)~7818(7918)的最大输入电压为35V,7824(7924)的最大输入电压为 40V。由于三端集成稳压器有一个使用最小压差(约为2V)的限制,一般应使其保持在6V左右。
(3)保证散热良好
对于用三端集成稳压器组成的大功率稳压电源,应在三端集成稳压器上安装足够大的散热器。当散热器的面积不够大,而内部调整管的结温达到保护动作点附近时,集成稳压器的稳压性能将变差。
(4)并联运用
如果需要较大的稳压电流输出,而单只集成稳压器的输出电流又不够时,可采用同型号稳压器并联输出的方法。这时的最大输出电流为nIomax。式中n 为并联稳压器的个数,Iomax为单个稳压器的最大输出电流。稳压器并联运行时需注意两点:一是并联使用的集成稳压电路应采用同一厂家、同一型号(包括后缀)的产品,以保证集成稳压器参数的一致性;二是最好在输出总电流上留有20%的余量,这样可以避免因个别集成稳压器失效而造成其他集成稳压器的连锁烧毁。
联系方式:邹先生
联系电话:0755-83888366-8022
手机:18123972950
QQ:2880195519
联系地址:深圳市福田区车公庙天安数码城天吉大厦CD座5C1
请搜微信公众号:“KIA半导体”或扫一扫下图“关注”官方微信公众号
请“关注”官方微信公众号:提供 MOS管 技术帮助