电源IC制造商 电源IC应用电路和类型介绍及行情趋势 KIA MOS管
实亿国际信息来源:本站 日期:2018-04-12
作为一名电源研发工程师,自然经常与各种芯片打交道,可能有的工程师对芯片的内部并不是很了解,不少同学在应用新的芯片时直接翻到Datasheet的应用页面,按照推荐设计搭建外围完事。如此一来即使应用没有问题,却也忽略了更多的技术细节,对于自身的技术成长并没有积累到更好的经验。今天以一颗DC/DC降压电源芯片LM2675为例,尽量详细讲解下一颗芯片的内部设计原理和结构,IC行业的同学随便看看就好,欢迎指教!
打开LM2675的DataSheet,首先看看框图
这个图包含了电源芯片的内部全部单元模块,BUCK结构我们已经很理解了,这个芯片的主要功能是实现对MOS管的驱动,并通过FB脚检测输出状态来形成环路控制PWM驱动功率MOS管,实现稳压或者恒流输出。这是一个非同步模式电源,即续流器件为外部二极管,而不是内部MOS管。
下面咱们一起来分析各个功能是怎么实现的
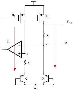
类似于板级电路设计的基准电源,芯片内部基准电压为芯片其他电路提供稳定的参考电压。这个基准电压要求高精度、稳定性好、温漂小。芯片内部的参考电压又被称为带隙基准电压,因为这个电压值和硅的带隙电压相近,因此被称为带隙基准。这个值为1.2V左右,如下图的一种结构:
这里要回到课本讲公式,PN结的电流和电压公式:
可以看出是指数关系,Is是反向饱和漏电流(即PN结因为少子漂移造成的漏电流)。这个电流和PN结的面积成正比!即Is->S。
如此就可以推导出Vbe=VT*ln(Ic/Is) !
回到上图,由运放分析VX=VY,那么就是I1*R1+Vbe1=Vbe2,这样可得:I1=△Vbe/R1,而且因为M3和M4的栅极电压相同,因此电流I1=I2,所以推导出公式:I1=I2=VT*ln(N/R1) N是Q1 Q2的PN结面积之比!
回到上图,由运放分析VX=VY,那么就是I1*R1+Vbe1=Vbe2,这样可得:I1=△Vbe/R1,而且因为M3和M4的栅极电压相同,因此电流I1=I2,所以推导出公式:I1=I2=VT*ln(N/R1) N是Q1 Q2的PN结面积之比!
这样我们最后得到基准Vref=I2*R2+Vbe2,关键点:I1是正温度系数的,而Vbe是负温度系数的,再通过N值调节一下,可是实现很好的温度补偿!得到稳定的基准电压。N一般业界按照8设计,要想实现零温度系 数,根据公式推算出Vref=Vbe2+17.2*VT,所以大概在1.2V左右的,目前在低压领域可以实现小于1V的基准,而且除了温度系数还有电源纹波抑制PSRR等问题,限于水平没法深入了。最后的简图就是这样,运放的设计当然也非常讲究:
如图温度特性仿真:
我们知道开关电源的基本原理是利用PWM方波来驱动功率MOS管,那么自然需要产生振荡的模块,原理很简单,就是利用电容的充放电形成锯齿波和比较器来生成占空比可调的方波。
最后详细的电路设计图是这样的:
这里有个技术难点是在电流模式下的斜坡补偿,针对的是占空比大于50%时为了稳定斜坡,额外增加了补偿斜坡,我也是粗浅了解,有兴趣同学可详细学习。
误差放大器的作用是为了保证输出恒流或者恒压,对反馈电压进行采样处理。从而来调节驱动MOS管的PWM,如简图:
最后的驱动部分结构很简单,就是很大面积的MOS管,电流能力强。
这里的其他模块电路是为了保证芯片能够正常和可靠的工作,虽然不是原理的核心,却实实在在的在芯片的设计中占据重要位置。
具体说来有几种功能:
1、启动模块
启动模块的作用自然是来启动芯片工作的,因为上电瞬间有可能所有晶体管电流为0并维持不变,这样没法工作。启动电路的作用就是相当于“点个火”,然后再关闭。如图:
上电瞬间,S3自然是打开的,然后S2打开可以打开M4 Q1等,就打开了M1 M2,右边恒流源电路正常工作,S1也打开了,就把S2给关闭了,完成启动。如果没有S1 S2 S3,瞬间所有晶体管电流为0。
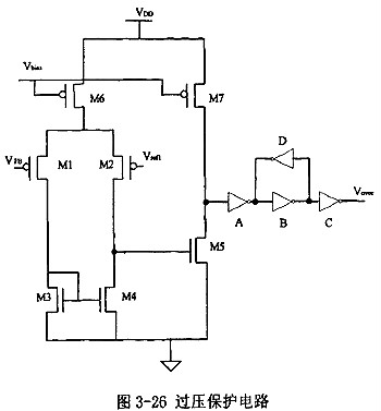
2、过压保护模块OVP
很好理解,输入电压太高时,通过开关管来关断输出,避免损坏,通过比较器可以设置一个保护点。
3、过温保护模块OTP
温度保护是为了防止芯片异常高温损坏,原理比较简单,利用晶体管的温度特性然后通过比较器设置保护点来关断输出。
4、过流保护模块OCP
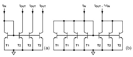
在譬如输出短路的情况下,通过检测输出电流来反馈控制输出管的状态,可以关断或者限流。如图的电流采样,利用晶体管的电流和面积成正比来采样,一般采样管Q2的面积会是输出管面积的千分之一,然后通过电压比较器来控制MOS管的驱动。
还有一些其他辅助模块设计。
在IC内部,如何来设置每一个晶体管的工作状态,就是通过偏置电流,恒流源电路可以说是所有电路的基石,带隙基准也是因此产生的,然后通过电流镜来为每一个功能模块提供电流,电流镜就是通过晶体管的面积来设置需要的电流大小,类似镜像。
七、小结
以上大概就是一颗DC/DC电源芯片LM2675的内部全部结构,也算是把以前的皮毛知识复习了一下。当然,这只是原理上的基本架构,具体设计时还要考虑非常多的参数特性,需要作大量的分析和仿真,而且必须要对半导体工艺参数有很深的理解,因为制造工艺决定了晶体管的很多参数和性能,一不小心出来的芯片就有缺陷甚至根本没法应用。整个芯片设计也是一个比较复杂的系统工程,要求很好的理论知识和实践经验。最后,学而时习之,不亦说乎!
目前国内充电管理系统比较成熟,智能集成ic控制整个充电过程,执行锂电池的涓流、恒流、恒压三个阶段充电功能。性能较稳定的型号有CT6551、CT6201、JW3816、JW6235等。
MCU是应用于PCB板上智能控制系统,可以在不充电输出状态下阻止电能流失,并避免设备在充电时受到不稳定的电流、电压冲击而损坏;可以对产品进行充放电控制,提供充电保护、放电保护、温度保护、漏电保护、过载保护、短路保护等多重保护,使产品性能更加安全稳定,使产品本身使用寿命更长,同时也避免不稳定的输出对手机造成伤害,解决了用户的后顾之忧。
自动识别手机和多种数码产品,支持各品牌智能手机及各类平板电脑充电,兼容USB 5V输入的其他数码类电子产品充电。目前比较常见的品牌及型号有聚泉、巨威、松翰,海尔HR6P61。
移动电源电池的电压为3.7V,而输出电压则是5.0V,电力需要经过升压电路才能输出。在升压的过程中因为电路上发热损耗了部分电量,使实际输出的电量和电池输出的电量存在一定的差异,两者的比值叫做移动电源的转换率。目前国内技术转换效率高低不等,一般在75-85%.也有些实力较强的厂家采用成本较高的方案,自主研发电路设计,实际转换率能达到90%以上,当然随着技术的发展,这一转换率会越来越高。也有将2节电池串联成8.4V然后采取降压方式的,效率能做到95%左右,但对电芯的一致性要求高,安全性比较低,一旦出故障容易烧坏用户的手机等数码产品,所以很少有厂家采用。
在所有的电子设备和产品中,都不乏电源管理IC的“身影”。随着数字高速IC技术和芯片制造工艺技术的共同高速发展,高性能电源IC“助阵”的作用显得愈加重要。而日新月异的电子产品应用、环保绿色节能需求的兴起也对电源IC提出了更高的要求,催生新一代高集成度、高性能和高能效电源管理IC的需求,亦成为电源管理IC厂商永恒的使命。
据市调机构iSuppli预计,2016年电源管理IC市场预计将达到387亿美元,消费电子、网络通信、移动互联领域都是主要的应用市场,汽车电子、新能源领域也逐渐发力。在应用驱动和技术进步的作用下,对电源IC的技术要求也不断走高。而且随着应用的不断创新,电源IC的市场也呈现出需求多样化,应用细分化,更多高性能电源IC的市场需求也不断深化以及扩展化,更好地为满足系统创新,性能提升而服务。
一方面,伴随着半导体工艺技术的不断升级,PCB板上的芯片和元器件功能更高、运行速度更快、体积更小,驱使电源管理IC提供更低更精准的核电电压以及更大的供电电流、更严格的电压反馈精度、以及更高的效率性能。另一方面,电源管理IC应用领域不断扩张和深入,实现更优异的控制功能、更智能的控制环路,更快速的动态响应特性,更简化的外围布局设计等都“不可或缺”。电源管理IC想要“拿得出手”,都需直面这些难题。
Altera电源业务部市场总监Mark Davidson表示,为了帮助客户解决这些挑战和简化设计,数字化、模块化、智能化电源IC等已是必然之势。
他举例说,就拿FPGA客户来说,电源管理已日益成为一个战略性的竞争优势,特别是在通信、计算以及工业应用等领域。随着FPGA和SoC的不断发展,设计人员在下一代嵌入式系统中增加了大量混合信号功能,实现了以前无法企及的系统级性能。如何给功能越来越多、性能越来越高、工艺越来越先进的FPGA供电,确实是一个非常具有挑战性的问题。比如采用14nm工艺的FPGA会具有更高的性能,相应地也会需要更加高性能的电源与之匹配。而且14nm的FPGA对电源的要求更加苛刻,对电源精度的要求更高,如果电压范围超过了规范的要求,就有可能会使FPGA失效,甚至可能会烧坏。
这也意味着,设计者必须要在严格的FPGA电源轨要求、系统功耗和散热预算限制、构建鲁棒而又可靠的系统、符合预算要求按时完成其项目、完全满足其电路板和系统对功能和性能的要求之间找到最佳结合点,这殊非易事。
各大电源管理IC厂商为应对这一市场走势,都在抓紧排兵布阵,而数字电源成为他们不遗余力的“招数”。凭借灵活、快速响应、高集成度以及高度可控的巨大优势,数字电源已显示出强劲的发展势头。
据调研机构IHS公司旗下IMS Research的报告,预计2017年全球数字电源市场营业收入将增至124亿美元,数字电源IC市场将达到26亿美元。数字电源市场以服务器和通信设备应用为主导,同时拓展至其他更多应用领域,或如星火燎原之势。
POL转换器一般为低电压,大电流数字负载(如FPGA,微处理器,DSP及其它具有极高动态特性的数字电路)提供电压。保持电压在1V左右的精确调节,同时利用纯模拟控制技术来满足近200A/ns的负载瞬态要求变得越来越困难。有些数字控制器能够提供在同类模拟IC中难以实现的功能例如非线性控制。事实上,几乎所有的POL数字控制器都包含了一些不同的旨在改善瞬态响应的控制技术。这些专用控制算法构成了传统模拟电源公司进入数字电源开发的门槛。电源如果在内部采用数字内核实现控制环路,可以满足极为严苛的瞬态要求,实现极低的纹波电压,以及在输出电压范围内实现极高的精确稳压。同时可以支持PMbus通信接口,可以 实现远程精确的电流,电压和温度监控。
数字电源为电源设计领域注入了新的活力,同时也对电源管理IC厂商提出了更高的要求。据了解,一方面,电源管理IC厂商不仅要提供一系列的整合设计方案,而非单一元件,提供高中低端全系列产品;其次,他们也需要全套数字电源开发工具,包括硬件和图形介面(GUI);最后,获得相关周边元件如Power Train,才能创建完整解决方案。另一方面,数字电源IC厂商如果再“单打独斗”的话,显然已“力有不逮”。Altera的Enpirion电源产品中国区高级业务经理张伟超提到,主芯片厂家诸如FPGA/ASSP/ASIC的技术日新月异,在性能不断提升的同时对电源的要求也异常的严苛,而电源管理IC厂商不能再和以往一样孤军作战,而是必须要和数字组芯片厂家协同作战。电源IC厂商需要和主芯片厂商进行有效地技术沟通,因为只有了解系统芯片的需求,电源IC的目标设计规格才显得更有意义,这种为系统性能需求而定制的电源设计最终能为系统的功耗优化做出巨大的贡献。这种协作可助力电源管理IC厂商的产品更具竞争力,获得更多的市场份额。
从近些年的市场并购来看,无疑都佐证了这一趋势。高通收购了Summit, Mediatek收购Richtek,Microchip收购Micrel,Altera收购了Enpirion以及最近收购了德国创新型芯片公司ZMDI的数字电源控制器部门,道理其实一脉相承,业界都认可并执行类似的策略
而收购一家电源企业的好处或远比与电源企业合作来得“直接”。Mark Davidson对此表示,一般大型电源管理IC厂商的电源器件会有很多不同的应用领域,他们不会也不可能把全部的精力投入到FPGA领域,而Altera通过收购则会更加关注电源器件在FPGA方面的应用。他强调,收购Enpirion我们成为一个公司后,可以集合电源、FPGA系统工程以及电路板布局的专家,共同开发出一个更好的解决方案。
受SoC化设计趋势的影响,近年来电源管理IC技术表现出越来越强的模块化趋势。一方面,设备正变得越来越复杂,更多功能特性、更快更复杂处理器需要更先进的电源管理解决方案,电源管理技术要在更小的硅芯片上集成更多功能同时以更高的设计灵活性实现更强的系统用电性能,这正在改变传统的电源设计方法。另一方面,模块化的电源管理IC可有效降低系统设计的复杂性,节约电路板空间,提高系统的长期可靠性,同时也能有效降低系统成本,带来的好处是显而易见的。
因而,市场上的模块化电源管理IC开始不断浮出水面。Altera日前就在其Enpirion电源解决方案中新增了一款30amp PowerSoC DC-DC降压转换器EM1130。这款被Altera视作“里程碑”式的产品,是集成数字DC-DC降压转换器系列的第一款产品,可为Altera的第10代FPGA提供电源管理功能。EM1130的“功力深厚”,引脚布局密度达业界最高,面积不到其他解决方案的一半,不仅可提供严格的高输出稳压和快速瞬时响应功能,并能够远程测量电流、电压和温度等关键参数。
张伟超介绍说,集成的Enpirion电源单芯片系统最大的优势在于极大程度的提高了系统的可靠性和易用性,而模块电源体积小、低EMI以及通过数字控制环路实现更快的负载瞬态响应和更低的噪声,从而能够更加智能化地适应平台厂商对于降低系统功耗的最新需求同时提升性能的严苛挑战,将经验证的Enpirion电源SoC解决方案与Altera的FPGA结合使用,客户能够在尽可能最小的电路板上完成他们的设计,同时还能最大程度地提高性能和降低功耗,加快产品上市、削减材料成本以及增强系统可靠性。
图:Altera的Enpirion电源SoC解决方案与Arria 10 FPGA结合使用,大大降低功耗并提高系统性能。
此外,电源管理IC的模块化趋势还体现在与板上其他芯片的“集成化”上,市场上电源管理IC与主控芯片之间通信及监控等功能的集成化也在日益增多。张伟超提到,未来,Altera将会利用Enpirion公司在电源方面的技术,将某些电源模块集成进FPGA内部,使得系统电路板电路更加简洁,功耗和成本都得到优化处理,并更加简化FPGA系统的开发。
而电源管理IC的智能化亦是大势使然,或才能主动“配合”平台主芯片的功能不断升级的需求。张伟超介绍说,随着系统功能越来越复杂,对能耗的要求越来越高,客户对电源运行状态的感知与控制的要求越来越高,电源设计人员不再满足于实时监控电流、电压、温度,还提出了诊断电源供应情况、灵活设定每个输出电压参数的要求。此外,电源管理IC必须和电路板上所需要供电的设备进行有效地连接,因系统要求电源子系统和主系统之间更加实时的合作与配合,甚至要支持通过云端进行的监控去管理,智能化的管理和调控已成必须。
如何去实现智能化?张伟超表示,这需要在两个方面下工夫,一是电源管理IC要实现与内核通信,各部分之间可相互沟通交流,及时动态的控制加上无缝的沟通可成就一个智能化的电源管理系统,能够实时地对系统变化的供电需求进行检测分析和响应,从而大大提高系统的效率。二是内部参数可实现在线调整,这就意味着电源的动态特性是可变的,能顺应负载在相当大的范围内变化同时还能保证一定的性能,数字电源在这方面发挥重要作用,同时还需要不断在控制算法、自适应方面实现突破。
Altera通过不断创新,在这方面实现了新的进展。不久前,Altera在亚太地区的14个城市举办2015年Altera技术日活动,展示了最新的FPGA、SoC及Enpirion电源解决方案。其中,Arria 10和Enpirion的数字PowerSoC相结合,实现了智能化的FPGA电源系统和最低的功耗。其具体特性包括以下几个方面:
1. FPGA设计的所有电源供电要求会导致建立FPGA电源树,不同资源要求有不同的上电顺序,这对电源转换器提出了更高要求。Enpirion器件具有“Power OK”或者“Power Good”引脚,支持对FPGA中不同资源的电源轨的分组排序,向系统控制器或者排序器件发出信号,某一FPGA输入已经接通电源,可以开始下一排序步骤;
2. 另一常见的系统电源要求是能够进行远程监视,对电源各参数进行实时监视、故障报警和相应调节。而最简单、最便宜、最紧凑的方式是使用集成了远程监视功能和相应的通信总线的电源调节器。通过智能电压ID(SmartVID)特性,Altera的Arria 10 FPGA和SoC通过PMBus接口,确定与Enpirion电压调节器系统之间所需的VCC电压和通信,将内核电压轨尽可能动态调整到最小,而不会牺牲系统性能。同时,支持PMBus的Enpirion的ED8101P0xQI单相数字控制器,与ET4040QI大电流电源配对使用,可实现对FPGA的多种远程监视和低功耗特性。
FPGA电源供电设计有一些常见的要求。理解FPGA设计和应用怎样影响功耗和电源供电要求会让设计更清晰,更容易成功。Altera的Enpirion电源解决方案设计满足了这些苛刻的FPGA电源要求。未来的电子系统功能将日益复杂、多样和智能化,对电源管理系统的要求也越来越高。深入地理解各个系统的特性和供电需求,并顺应数字化、模块化和智能化的发展趋势,才能够为系统提供度身定制的“完美”供电保障。
联系方式:邹先生
联系电话:0755-83888366-8022
手机:18123972950
QQ:2880195519
联系地址:深圳市福田区车公庙天安数码城天吉大厦CD座5C1
请搜微信公众号:“KIA半导体”或扫一扫下图“关注”官方微信公众号

请“关注”官方微信公众号:提供 MOS管 技术帮助