新品如何从0做根底销量?如今正是秋冬款上新的时分,很多淘宝卖家在懊恼着新品...新品如何从0做根底销量?如今正是秋冬款上新的时分,很多淘宝卖家在懊恼着新品如何从0做根底销量?的问题,开淘小编带着新品如何从0做根底销量?快速搞定破零的N种...
实亿国际器件自身的失效 普通来说,器件的失效率具有图14.1所示的倾向。反映...器件自身的失效 普通来说,器件的失效率具有图14.1所示的倾向。反映这种倾向的曲线叫做澡盆曲线。澡盆曲线,如图所示能够分为早期失效、偶然失效、耗损...
实亿国际CMOS器件的接口 构成计算机、便携式电话、光盘唱机、汽车驾驶导向系...CMOS器件的接口 构成计算机、便携式电话、光盘唱机、汽车驾驶导向系统等各种电子设备的主要进行逻辑处理的CMOS器件(CMOS逻辑)的输入、输出必须要与其他...
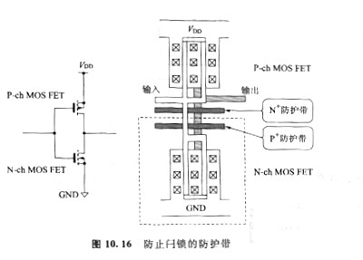
容易集成化 TTL等双极器件中,如图10. 15所示,相邻的晶体管之间需...容易集成化 TTL等双极器件中,如图10. 15所示,相邻的晶体管之间需求隔离,而且要提高电流驱动型器件的集成度,就很难抑止功率耗费和发热现象。 ...
实亿国际Tc、Tch、TJ的含义略有差别,但在数值上一般是相同的。 TSTG数值上一般也是和...Tc、Tch、TJ的含义略有差别,但在数值上一般是相同的。 TSTG数值上一般也是和Tc相同的。 TL在数值上一般是260一300℃之间的一个数值。 TJ(Operating Junction...
实亿国际本课课程主要帮助对淘宝比较迷茫的掌柜、缺乏实战的掌柜、对起色较慢额掌柜。结...本课课程主要帮助对淘宝比较迷茫的掌柜、缺乏实战的掌柜、对起色较慢额掌柜。结合各种破零的秘诀,帮助小卖家新品能够快速突破零销售。 这次课程主要的讲的...