实亿国际

实亿国际

国家高新企业

cn

新闻中心

三端稳压管和稳压二极管工作原理、应用、参数等区别与联系-KIA MOS管

实亿国际信息来源:本站 日期:2019-11-21 

分享到:

三端稳压管和稳压二极管工作原理、应用、参数等区别与联系

三端稳压管和稳压二极管介绍

下文会从三端稳压管和稳压二极管的各个方面的知识来介绍它们。先看他们的基本概况吧。


(1)三端稳压管概述

三端稳压管是一种直到临界反向击穿电压前都具有很高电阻的半导体器件。稳压管在反向击穿时,在一定的电流范围内(或者说在一定功率损耗范围内),端电压几乎不变,表现出稳压特性,因而广泛应用于稳压电源与限幅电路之中。


(2)稳压二极管概述

稳压二极管,英文名称Zener diode,又叫齐纳二极管。利用pn结反向击穿状态,其电流可在很大范围内变化而电压基本不变的现象,制成的起稳压作用的二极管。


此二极管是一种直到临界反向击穿电压前都具有很高电阻的半导体器件.在这临界击穿点上,反向电阻降低到一个很小的数值,在这个低阻区中电流增加而电压则保持恒定,稳压二极管是根据击穿电压来分档的,因为这种特性,稳压管主要被作为稳压器或电压基准元件使用。稳压二极管可以串联起来以便在较高的电压上使用,通过串联就可获得更高的稳定电压。


三端稳压管和稳压二极管


三端稳压管和稳压二极管的工作原理

三端稳压管和稳压二极管的工作原理区别如下:


(1)三端稳压管工作原理

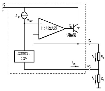
因为固定三端稳压器属于串联型稳压电路,因此它的原理等同于串联型稳压电路。


其中R1、Rp、R2组成的分压器是取样电路,从输出端取出部分电压UB2作为取样电压加至三极管T2的基极。


稳压管Dz以其稳定电压Uz作为基准电压,加在T2的发射极上。R3是稳压管的限流电阻。三极管T2组成比较放大电路,它将取样电压UB2与基准电压Uz加以比较和放大,再去控制三极管T1的基极电位。输入电压Ui加在三极管T1与负载RL相串联的电路上,因此,改变T1集电极间的电压降UCE1便可调节RL两端的电压Uo。


也就是说,稳压电路的输出电压Uo可以通过三极管T1加以调节,所以T1称为调整管。由于调整元件是晶体管管,而且在电路中与负载相串联,故称为晶体管串联型稳压电路。电阻R4和T1的基极偏置电阻,也是T2的集电极负载电阻。


当电网电压降低或负载电阻减小而使输出端电压有所下降时,其取样电压UB2相应减小,T2基极电位下降。但因T2发射极电位既稳压管的稳定Uz保持不变,所以发射极电压UBE2减小,导致T2集电极电流减小而集电极电位Uc2升高。


由于放大管T2的集电极与调整管T1的基极接在一起,故T1基极电位升高,导致集电极电流增大而管压降UCE1减小。因为T1与RL串联,所以,输出电压Uo基本不变。


同理,当电网电压或负载发生变化引起输出电压Uo增大时,通过取样、比较放大、调整等过程,将使调整调整管的管压降UCE1增加,结果抑制了输出端电压的增大,输出电压仍基本保持不变。


调节电位器Rp,可对输出电压进行微调。调整管T1与负载电阻RL组成的是射极输出电路,所以具有稳定输出电压的特点。


在串联型稳压电源电路的工作过程中,要求调整管始终处在放大状态。通过调整管的电流等于负载电流,因此必须选用适当的大功率管作调整管,并按规定安装散热装置。为了防止短路或长期过载烧坏调整管,在直流稳压器中一般还设有短路保护和过载保护等电路。


三端稳压管和稳压二极管

三端稳压内部电路图


(2)稳压二极管的工作原理

稳压二极管的伏安特性曲线的正向特性和普通二极管差不多,反向特性是在反向电压低于反向击穿电压时,反向电阻很大,反向漏电流极小。但是,当反向电压临近反向电压的临界值时,反向电流骤然增大,称为击穿,在这一临界击穿点上,反向电阻骤然降至很小值。尽管电流在很大的范围内变化,而二极管两端的电压却基本上稳定在击穿电压附近,从而实现了二极管的稳压功能。


三端稳压管和稳压二极管


主要参数

三端稳压管和稳压二极管的主要参数如下:


(一)三端稳压管最主要参数

(1)输出电压V。

输出电压是指稳压器的各工作参数符合规定时的输出电压值。对于固定输出稳压器,它是常数;对于可调式输出稳压器,它是输出电压范围。


(2)输出电压偏差

对于固定输出稳压器,实际输出的电压值和规定的输出电压Vo之间往往有一定的偏差。这个偏差值一般用百分比表示,也可以用电压值表示。


(3)最大输出电压ICM

最大输出电流指稳压器能够保持输出电压不变的最大电流。


(4)最小输入电压Vimin

输人电压值在低于最小输入电压值时,稳压器将不能正常工作。


(5)最大输人电压Vimax

最大输入电压是指稳压器安全工作时允许外加的最大电压值。


说明:(4)、(5)两项也常用输人电压的范围来表示。


(6)最小输入、输出电压差(Vi-Vo)

它是指稳压器能正常工作时的输入电压U与输出电压八是最小电压差值。


(7)电压调整率SV

电压调整率是指当稳压器负载不变而输入的直流电压变化时,所引起的输出电压的相对变化量。SV常用下式表示:


式中:△AVo——输出电压变化量;


△Ai——输入电压变化量。


电压调整率有时也用某一输入电压变化范围内的输出电压变化量表示。


电压调整车用来表征稳压器维持输出电压不变的能力。


(8)电流调整率SI

电流调整车是指,当输入电压保持不变而输出电流在规定范围内变化时,稳压器输出电压相对变化的百分比,可用下式表示:


三端稳压管和稳压二极管


电流调整率有时也用负载电流变化时输出电压的变化量来表示。


(9)输出电压温漂ST

输出电压温漂也称输出电压的温度系数。其定义为,在规定的温度范围内,当输入电压和输出电流不变时,单位温度变化引起的输出电压变化量,用公式表达为:


三端稳压管和稳压二极管


式中:△T——温度变化量。


(10)输出阻抗Z。

输出阻抗指,在规定的输入电压和输出电流的条件下,在输出端上所测得的交流电压与交流电流之比,即


三端稳压管和稳压二极管


输出阻抗反映了在动态负载状态下,稳压器的电流调整率。


(11)输出噪声电压VN

它是指当稳压器输入端无噪声电压进入时,在其输出端所测得的噪声电压值。输出噪声


电压是由稳压器内部产生的,它对许多负载是有害的。


(二)稳压二极管的主要参数

1.Uz— 稳定电压

指稳压管通过额定电流时两端产生的稳定电压值。该值随工作电流和温度的不同而略有改变。由于制造工艺的差别,同一型号稳压管的稳压值也不完全一致。例如,2CW51型稳压管的Vzmin为3.0V, Vzmax则为3.6V。


2.Iz— 额定电流

指稳压管产生稳定电压时通过该管的电流值。低于此值时,稳压管虽并非不能稳压,但稳压效果会变差;高于此值时,只要不超过额定功率损耗,也是允许的,而且稳压性能会好一些,但要多消耗电能。


3.Rz— 动态电阻

指稳压管两端电压变化与电流变化的比值。该比值随工作电流的不同而改变,一般是工作电流愈大,动态电阻则愈小。例如,2CW7C稳压管的工作电流为 5mA时,Rz为18Ω;工作电流为1OmA时,Rz为8Ω;为20mA时,Rz为2Ω ; > 20mA则基本维持此数值。


4.Pz— 额定功耗

由芯片允许温升决定,其数值为稳定电压Vz和允许最大电流Izm的乘积。例如2CW51稳压管的Vz为3V,Izm为20mA,则该管的Pz为60mWo


5. α---温度系数

如果稳压管的温度变化,它的稳定电压也会发生微小变化,温度变化1℃所引起管子两端电压的相对变化量即是温度系数(单位:﹪/℃)。一般说来稳压值低于6V属于齐纳击穿,温度系数是负的;高于6V的属雪崩击穿,温度系数是正的。温度升高时,耗尽层减小,耗尽层中,原子的价电子上升到较高的能量,较小的电场强度就可以把价电子从原子中激发出来产生齐纳击穿,因此它的温度系数是负的。


对电源要求比较高的场合,可以用两个温度系数相反的稳压管串联起来作为补偿。由于相互补偿,温度系数大大减小,可使温度系数达到0.0005%/℃。


6.IR— 反向漏电流

指稳压二极管在规定的反向电压下产生的漏电流。例如2CW58稳压管的VR=1V时,IR=O.1uA;在VR=6V时,IR=10uA。


应用

三端稳压管和稳压二极管的应用:


三端稳压管典型应用

所谓的三端稳压器,就是只有三个引脚,分别为输入端、输出端和地(公共端),按功能可分为固定式稳压电路和可调式稳压电路,固定式就是输出电压为固定的,而可调式可以通过外接元件使输出电压得到很宽的调节范围;下面我们分别介绍两种稳压电路。


固定式三端稳压器:


三端稳压管和稳压二极管


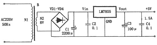
作为维修人员,相信大家大都见过电路板上的7800系列产品,比如7805,7812等,它们都属于W7800系列。W7800系列三端稳压器的输出电压有5V、6V、9V、12V、15V、18V和24V七个档次,型号后面的两个数字表示输出电压值,输出电流有三个档次,1.5A,例如W7805;0.5A,例如W78M05;0.1A,例如W78L05。此系列产品因性能稳定、价格低廉而得到广泛的应用。


三端稳压管和稳压二极管


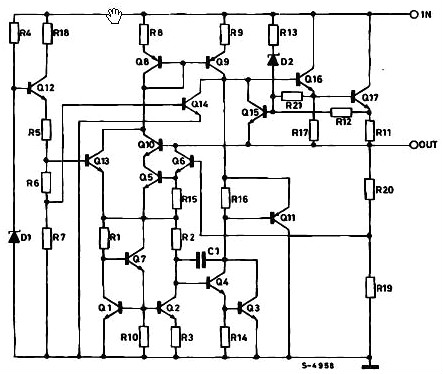
上图为7805内部原理框图,其内部就是一个串联型稳压电路加保护电路组成,只不过把它集成起来了。W7805的输入端和输出端之间的电压差允许值为3~13V,也就是说输出5V,输入电压至少是8V,最多是18V。


三端稳压管和稳压二极管


7805的典型应用电路

上图为7805的典型应用电路。图中电容C2用于抵消输入线较长时的电感效应,以防止电路产生自激振荡,C3用于滤除输出电压中的高频噪声。


三端稳压管和稳压二极管


可调稳压电路

上图为输出电压可调的实用稳压电路,图中IC2组成电压跟随器,它的输出电压等于7805的输出电压,也就是电阻R1和可调电阻R2的电压之和,改变R2滑动端的位置,可以调节输出电压的大小。


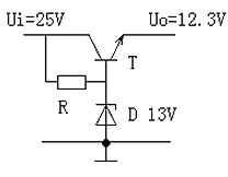
可调式三端稳压器:可调式三端稳压器和固定式同样有三个引脚,分别为输入端、输出端和调整端。可调式三端集成稳压器输出电压可调,稳压精度高,输出纹波小,只需外接两只不同的电阻,即可获得各种输出电压。三端可调式稳压器品种繁多,如正压输出的317(217/117)系列、123系列、138系列、140系列、150系列;负压输出的337系列等,它的线性调整率和负载调整率要比固定式稳压器好。


三端稳压管和稳压二极管


上图为W117的原理框图。R1和R2为外接的采样电阻,调整端接在它们的连接点上。由于此电路引入了深度电压负反馈,因此输出电压非常稳定。如不外接电阻使用,其输出电压等于基准电压值,典型值为1.25V。


三端稳压管和稳压二极管


可调式三端稳压器的主要应用就是实现输出电压可调的稳压电路,所以外接采样电稳压电路不可缺少的部分,其W317典型电路如上图,输出电压的计算公式为 输出电压=(1 R2/R1)*1.25V。调节电位器R2的阻值可调节输出电压的大小。调节范围为1.2V~37V。另外需要说明的是,其输入端和输出端电压差为3~40V,过低稳压电路不稳压,过高时调整管可能因管压降过大击穿。


(二)稳压二极管应用

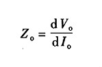
(1)典型的串联型稳压电路

在此电路中,三极管T的基极被稳压


串联型稳压电路

二极管D稳定在13V,那么其发射极就输出恒定的13-0.7=12.3V电压了,在一定范围内,无论输入电压升高还是降低,无论负载电阻大小变化,输出电压都保持不变。这个电路在很多场合下都有应用。7805就是一种串联型集成稳压电路,可以输出5V的电压。7805-7824可以输出5-24V电压。在很多电器上都有应用。


三端稳压管和稳压二极管


(2)电视机里的过压保护电路

115V是电视机主供电电压,当电源输出电压过高时,D导通,三极管T导通,其集电极电位将由原来的高电平(5V)变为低电平,通过待机控制线的电压使电视机进入待机保护状态.


(3)电弧抑制电路

在电感线圈上并联接入一只合适的稳压二极管(也可接入一只普通二极管原理一样)的话,当线圈在导通状态切断时,由于其电磁能释放所产生的高压就被二极管所吸收,所以当开关断开时,开关的电弧也就被消除了。这个应用电路在工业上用得比较多,如一些较大功率的电磁吸控制电路就用到它。


联系方式:邹先生

联系电话:0755-83888366-8022

手机:18123972950

QQ:2880195519

联系地址:深圳市福田区车公庙天安数码城天吉大厦CD座5C1


请搜微信公众号:“KIA半导体”或扫一扫下图“关注”官方微信公众号

请“关注”官方微信公众号:提供 MOS管 技术帮助